Recientemente, INVT ha alcanzado una cooperación profunda con una empresa de fibras químicas en Henan. Gracias a su sobresaliente capacidad técnica e innovación, se aplicó con éxito la tecnología de conmutación sin interrupciones “uno a cinco” del variador de media tensión GD5000 de INVT, resolviendo numerosos problemas en la producción de la empresa de fibras químicas y logrando un doble objetivo de ahorro de energía y mejora de la eficiencia competitiva.
01 Piedra en el camino” en la producción: arranque directo a frecuencia industrial
Durante el proceso de producción, esta empresa de fibras químicas en Henan ha enfrentado problemas causados por el arranque directo a frecuencia industrial. La fábrica depende de energía solar y la capacidad sobrante de la red eléctrica es limitada; al iniciar un motor en arranque directo a frecuencia industrial, la corriente de arranque normalmente alcanza de 5 a 8 veces la corriente nominal. Este enorme impacto de corriente no solo afecta gravemente el funcionamiento normal de otros equipos en la misma red, sino que también provoca disparos de protección frecuentes, interrumpiendo la producción y reduciendo drásticamente la eficiencia.
Además, el par de arranque durante el arranque directo a frecuencia industrial es difícil de controlar con precisión. Un par de arranque demasiado alto puede dañar de manera impactante los equipos de carga, aumentando los costos de mantenimiento y la frecuencia de reemplazo, comprimiendo aún más el margen de beneficio de la empresa.
02 Demanda precisa: solución personalizada de INVT

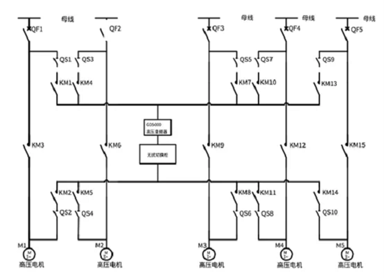
El variador se utiliza únicamente para el arranque suave. Según los parámetros nominales de carga y las condiciones de funcionamiento reales, los cinco contactores de vacío dentro del gabinete de conmutación,controlados por el variador, deben tener un interbloqueo eléctrico entre sí, asegurando que en operación solo un contactor pueda estar cerrado, es decir, que solo un motor funcione con variador para garantizar la seguridad del sistema. Además, el dispositivo de variador debe estar equipado con un circuito de pre-carga y requerir acelerar desde velocidad cerohasta lafracuencia máxima en 20 segundos.

Basándose en estas demandas del cliente, el equipo de INVT respondió rápidamente y finalmente determinó la solución “uno a cinco con conmutación sin interrupciones” con variadores de media tensión GD5000.
Esta solución, mediante un diseño de circuito ingenioso y un algoritmo de control avanzado, permite que un variador de alta tensión impulse cinco motores al mismo tiempo y logre una conmutación perfecta y sin perturbaciones entre frecuencia variable y frecuencia industrial.
* Ahorro de energía significativo
El control preciso de velocidad del variador ajusta la velocidad según la carga real del motor en tiempo real, evitando el desperdicio de energía de la operación a velocidad constante. Según pruebas de proyecto, la tasa de ahorro de energía puede alcanzar entre el 20% y 40%, promoviendo un desarrollo verde y sostenible para la empresa.
* Vida útil prolongada
La tecnología de conmutación sin interrupciones asegura que la transición se realice con un impacto de corriente mínimo entre frecuencia variable y frecuencia industrial, casi sin afectar la operación normal del motor, reduciendo riesgos de fallos y prolongando la vida útil del motor y equipos relacionados, disminuyendo la frecuencia de reemplazo y mantenimiento.
* Conmutación rápida
En la práctica, los variadores GD5000 de alta tensión de INVT muestran un desempeño sobresaliente. De cero a frecuencia industrial, la conmutación se completa en solo 55 segundos, reduciendo suavemente el impacto mecánico y resolviendo con éxito múltiples problemas críticos del cliente.

Forma de onda durante la conmutación
Esta cooperación demuestra que los variadores de media tensión GD5000 de INVT, con su excelente rendimiento y efectos de aplicación destacados, se han convertido en una herramienta clave para que la empresa de fibras químicas en Henan logre ahorro de energía, mejora de eficiencia y competitividad. En el futuro, INVT continuará innovando y promoviendo la implementación a gran escala de soluciones verdes de ahorro energético, colaborando para crear un nuevo capítulo en el desarrollo industrial.




Nuestro sitio utiliza cookies para brindarle una mejor experiencia en el sitio. Al continuar navegando por el sitio, acepta nuestro uso de cookies de acuerdo con nuestra Política de cookies.